NOVOPORTA PREMIO tűzgátló acélajtó

A vastag falcos kialakítású NovoPorta Premio tűzgátló ajtócsalád a következő tűzgátlási értékekkel rendelhető: EI2 30, EI2 60 és EI2 90.
Az ajtók beltéri felhasználásra Európai Műszaki Értékeléssel (ETA), kültéri felhasználásra pedig CE tanúsító jellel rendelkeznek.


Vastag falcos kialakítás
A 64 mm vastag, stabil és kellően merev ajtólapok vastag falcos kialakításukkal, esztétikus felületeikkel elegáns irodai környezetben is megállják a helyüket.


Sokféle funkció
A NovoPorta Premio vastag falcos acél ajtóelemek minden igényre kínálnak megoldást: tűzgátló, (EI2 90-ig), füstgátló, biztonsági (RC 4-ig), hanggátló (RW = 53 dB-ig), funkciókkal is kaphatók.


Szerelési előnyök 
Egyszerű beépíthetőség pl. falcon keresztüli csavaros rögzítéssel, - gyors hézagkitöltés kőzetgyapot csíkokkal vagy tűzgátló purhabbal.

Novoporta premio tűzgátló ajtók összehasonlítása és részletei

Novoporta Premio tűzgátló ajtók - típusösszehasonlítás
Típus

Vastag falc

EI230

EI2 60

EI290

Füst-
gátló

Hang-
gátló

Biztonsági
RC2

Biztonsági
RC3

Biztonsági
RC4

EI2 30-1 
Premio

strangajtó
1 szárnyú

*

*

 

 

 

*

*

*

 

EI2 30-1
Premio

1 szárnyú

*

*

 

 

*

*

*

*

*

EI2 30-1 
Premio 
GE nagyméret

1 szárnyú

*

*

 

 

*

*

*

 

 

EI2 30-2 
Premio

2 szárnyú

*

*

 

 

*

*

*

*

 

EI2 30-2 
Premio 
GE nagyméret

2 szárnyú

*

*

 

 

*

*

*

 

 

EI2 60-1 
Premio

1 szárnyú

*

 

*

 

*

 

*

*

*

EI2 60-1 
Premio 
GE nagyméret

1 szárnyú

*

 

*

 

*

*

 

 

 

EI2 60-2 
Premio

2 szárnyú

*

 

*

 

*

*

*

*

 

EI2 60-2 
Premio 
GE nagyméret

2 szárnyú

*

 

*

 

*

*

 

 

 

EI2 90-1 
Premio

strangajtó
1 szárnyú

*

 

 

*

*

*

*

*

 

EI2 90-1 
Premio

1 szárnyú

*

 

 

*

*

*

*

*

*

EI2 90-1 
Premio 
GE nagyméret

1 szárnyú

*

 

 

*

*

*

 

 

 

EI2 90 -2 
Premio

2 szárnyú

*

 

 

*

*

*

*

*

 

EI2 90-2 
Premio 
GE nagyméret

2 szárnyú

*

 

 

*

*

*

 

 

 


* rendelhető

NovoPorta Premio EI30 tűzgátló ajtók - részletek


Vasalat:
Egyszárnyú ajtóknál 1 db 3-részes konstrukciós pánt és 1 db rugós pánt, kétszárnyú ajtóknál 2 db 3-részes konstrukciós pánt, (2500 mm magasságtól 3 db 3-részes konstrukciós pánt), RAL 9016 fehér színre porszórva; opcionálisan rozsdamentes vagy 3D-s állítható vagy 3D-s vékony objektpántok; 2 db kiemelésgátló biztonsági csap szárnyanként; biztonsági PZ-zár, fekete rendszerkilinccsel, cilinderbetét nélkül, (szükséges cilinderbetét: 85 mm (50+35); kétszárnyú ajtók állószárnyán felső reteszelésű falcban futó letűzőzár, opcionálisan alsó-felső reteszeléssel. Ajtólapon belső megerősítés felső ajtócsukó részére a pánt felőli oldalon

Ajtócsukó:
Egyszárnyú ajtóknál 1250 x 2250 mm mérettől Dorma TS89 vagy Geze TS4000 ajtócsukó. Kétszárnyú ajtóknál 2 db Dorma TS 89 vagy Geze TS 4000 csukássorrend-szabályzóval, középső ütközővel és falctömítéssel.

Tok:
Standard kivitelben: saroktok gumitömítéssel, lemezvastagság: 2,0 mm, tükörszélesség: 50 mm, opcionálisan válaszfaltok, utólag szerelhető tok, profilszám: 2140B, ellentok vagy blokktok

Küszöb:
Standard kivitelben: egyenes, A típus, választható: B1, B2, B3, BE-2 4-oldalon körbefutó kerettel; C2 alsó ütközővel; RS1 süllyedőküszöbbel; RS1 dupla süllyedőküszöbbel; RS2 íves küszöbbel és ráfutóküszöbbel

Felület:
Ajtólap és tok standard kivitelben: horganyzott, alapozott RAL 9016 fehér színben
Opcionális felület: ajtólap és tok választott tetszőleges RAL színben

 

NOVOPORTA PREMIO EI2 30

Vízszintes metszet 1-szárnyú

Vízszintes metszet 2-szárnyú

DIN bal / DIN jobb

 

NOVOPORTA PREMIO EI2 30

Függőleges metszet

Függőleges metszet felülvilágítóval

További kivitelek:

  • Felülvilágító tömör blende / üveg
  • Tűzgátló üvegezés (ajtócsukó mindig kötelező!)
  • Füstgátlás EN 1634-3 és DIN 18095 szerint, RS1 süllyedőküszöbbel vagy RS2 ráfutóküszöbbel és felső ajtócsukóval
  • Hanggátlás (felülvilágítós kivitel nem lehetséges) – EN ISO 140-3 szerint vizsgálva, EN ISO 717-1 szerint osztályozva, (Laborérték tele ajtólap esetén RS1 süllyedőküszöbbel: 1-szárnyú: 40 dB RW,P, 2-szárnyú: 39 dB RW,P)
  • Biztonsági kivitel RC 2* / RC 3* - mindkét oldalon EN 1627 szerint vizsgálva - BRM 2 500 x 2 500 mm-ig (felülvilágítós kivitelben nincs bevizsgálva)
  • Biztonsági kivitel RC 4* - mindkét oldalon EN 1627 szerint vizsgálva - csak 1 szárnyú kivitelben, BRM méretig 1 375 x 2 500 mm 

     

Előnyök pontokba szedve:

  • Egy- és kétszárnyú kialakítású tűzgátló acél ajtóelemek bel- és kültéri beépítésre
  • EN 1634-es tűzállósági vizsgálati szabvány alapján bevizsgálva, Európai Műszaki Értékeléssel: ETA-17/0443
  • Hőre táguló tűzgátló szalag 3 oldalon és a járószárny középső falcánál
  • Ajtólap és tok: horganyzott, alapozott, RA L9016 fehér színre porszórt
  • Ajtólap: 3-oldalon falcolt, 64 mm vastag ajtólap, 1,0 mm-es (opcionálisan 1,5 mm-es) lemezvastagsággal
NovoPorta Premio EI60 tűzgátló ajtók - részletek


Vasalat:
Egyszárnyú ajtóknál  1000x2125 mm-es méretig 1 db 3-részes konstrukciós pánt és 1 db rugós pánt, a fölött, ill. kétszárnyú ajtóknál 2 db 3-részes konstrukciós pánt, RAL 9016 fehér színre porszórva; opcionálisan rozsdamentes vagy 3D-s állítható vagy 3D-s vékony objektpántok; 2 db kiemelésgátló biztonsági csap szárnyanként; biztonsági PZ-zár, fekete rendszerkilinccsel, cilinderbetét nélkül, (szükséges cilinderbetét: 85 mm (50+35); kétszárnyú ajtók állószárnyán alsó-felső reteszelésű falcban futó letűzőzár.  Ajtólapon belső megerősítés felső ajtócsukó részére a pánt felőli oldalon

Ajtócsukó:
Egyszárnyú ajtóknál 1000x2125 mm mérettől Dorma TS89 vagy Geze TS4000 ajtócsukó. Kétszárnyú ajtóknál 2 db Dorma TS 89 vagy Geze TS 4000 csukássorrend-szabályzóval, középső ütközővel és falctömítéssel.

Tok:
Standard kivitelben: saroktok gumitömítéssel, lemezvastagság: 2,0 mm, tükörszélesség: 50 mm, opcionálisan válaszfaltok, utólag szerelhető tok, profilszám: 2140B, ellentok vagy blokktok

Küszöb:
Standard kivitelben: egyenes, A típus, választható: B1, B2, B3, BE-2 4-oldalon körbefutó kerettel; C2 alsó ütközővel; RS1 süllyedőküszöbbel; RS1 dupla süllyedőküszöbbel; RS2 íves küszöbbel és ráfutóküszöbbel

Felület:
Ajtólap és tok standard kivitelben: horganyzott, alapozott RAL 9016 fehér színben
Opcionális felület: ajtólap és tok választott tetszőleges RAL színben

 

NOVOPORTA PREMIO EI2 60

Vízszintes metszet 1-szárnyú

Vízszintes metszet 2-szárnyú

Függőleges metszet

DIN bal / DIN jobb

További kivitelek:

  • Tűzgátló üvegezés (ajtócsukó mindig kötelező!)
  • Füstgátlás EN 1634-3 szerint bevizsgálva, RS1 süllyedőküszöbbel és felső ajtócsukóval
  • Hanggátlás EN ISO 140-3 szerint vizsgálva, EN ISO 717-1 szerint osztályozva, (Laborérték tele ajtólap esetén RS1 süllyedőküszöbbel: 1-szárnyú: 35 dB RW,P, 2-szárnyú: 35 dB RW,P)
  • Biztonsági kivitel RC2 – EN 1627 szerint – tele ajtólap BRM 2500 x 2500 mm-ig
  • Biztonsági kivitel RC3 – EN 1627 szerint – tele ajtólap BRM 2500 x 2500 mm-ig
  • Biztonsági kivitel RC4 – EN 1627 szerint – csak egyszárnyú, tele ajtólap BRM 1375 x 2500 mm-ig

     

Előnyök pontokba szedve:

  • Egy- és kétszárnyú kialakítású tűzgátló acél ajtóelemek bel- és kültéri beépítésre
  • EN 1634-es tűzállósági vizsgálati szabvány alapján bevizsgálva, Európai Műszaki Értékeléssel: ETA-17/0443
  • Ajtólap: 3-oldalon falcolt, 64 mm vastag ajtólap, 1,0 mm-es lemezvastagsággal
  • Hőre táguló tűzgátló szalag 3 oldalon és a járószárny középső falcánál
  • Ajtólap és tok: horganyzott, alapozott, RAL 9016 fehér színre porszórt
NovoPorta Premio EI90 tűzgátló ajtók - részletek


Vasalat:
2 db 3-részes konstrukciós pánt szárnyanként, RAL 9016 fehér színre porszórva; opcionálisan rozsdamentes vagy 3D-s állítható vagy 3D-s vékony objektpántok; 2125 mm-es magasságig 2 db kiemelésgátló biztonsági csap szárnyanként, a felett 3 db; biztonsági PZ-zár, fekete rendszerkilinccsel, cilinderbetét nélkül, (szükséges cilinderbetét: 85 mm (50+35); kétszárnyú ajtók állószárnyán alsó-felső reteszelésű falcban futó letűzőzár.  

Ajtócsukó:
Egyszárnyú ajtóknál Dorma TS89 vagy Geze TS4000 ajtócsukó. Kétszárnyú ajtóknál 2 db Dorma TS 89 vagy Geze TS 4000 csukássorrend-szabályzóval, középső ütközővel és falctömítéssel.

Tok:
Standard kivitelben: saroktok gumitömítéssel, lemezvastagság: 2,0 mm, tükörszélesség: 50 mm, opcionálisan válaszfaltok, utólag szerelhető tok, profilszám: 2140B, ellentok vagy blokktok

Küszöb:
Standard kivitelben: egyenes, A típus, választható: B1, B2, B3, 4-oldalon körbefutó kerettel; C2 alsó ütközővel; RS1 süllyedőküszöbbel; RS1 dupla süllyedőküszöbbel.

Felület:
Ajtólap és tok standard kivitelben: horganyzott, alapozott RAL 9016 fehér színben
Opcionális felület: ajtólap, tok és pántok designfólia bevonattal

 

NOVOPORTA PREMIO EI2 90

Vízszintes metszet 1-szárnyú

Vízszintes metszet 2-szárnyú

Függőleges metszet

DIN bal / DIN jobb

További kivitelek:

  • Tűzgátló üvegezés (ajtócsukó mindig kötelező!)
  • Füstgátlás EN 1634-3 szerint bevizsgálva, RS1 süllyedőküszöbbel és felső ajtócsukóval
  • Hanggátlás EN ISO 140-3 szerint vizsgálva, EN ISO 717-1 szerint osztályozva, (Laborérték tele ajtólap esetén RS1 süllyedőküszöbbel: 1-és 2-szárnyú: 39 dB RW,P)
  • Biztonsági kivitel RC2 / RC3 – EN 1627 szerint – tele ajtólap BRM 2500 x 2500 mm-ig

     

Előnyök pontokba szedve:

  • Egy- és kétszárnyú kialakítású tűzgátló acél ajtóelemek bel- és kültéri beépítésre
  • EN 1634-es tűzállósági vizsgálati szabvány alapján bevizsgálva, Európai Műszaki Értékeléssel: ETA-17/0443
  • Hőre táguló tűzgátló szalag 3 oldalon és a járószárny középső falcánál
  • Ajtólap: 3-oldalon falcolt, 64 mm vastag ajtólap, 1,0 mm-es (opcionálisan 1,5 mm-es) lemezvastagsággal
  • Ajtólap és tok: horganyzott, alapozott, RA L9016 fehér színre porszórt

Novoferm multifunkciós acél ajtóelemek

 

A multifunkciós acél ajtóelemek előnyeit és felhasználási lehetőségeit a mellékelt videóban foglaltuk össze.

Termékeinkről további videókat a  Novoferm YouTube-csatornán talál:

https://www.youtube.com/NovofermVideos

FELSZERELTSÉG

FELÜLETEK

A Premio színt visz a mindennapokba 
 

Egy ajtónak hívogatónak kell lennie, ezért fontos a jó benyomás. A NovoPorta Premio ajtók már standard fehér színben is megfelelnek ennek az elvárásnak. Az alapkivitelen túl számos design- és RAL színváltozat is elérhető, mellyel megteremthető az adott helyiség és a nyílászáró harmonikus egysége. 

Az ajtólapok külső és belső oldalára különböző színek is válaszhatók, igény szerint a pántok is az ajtók színére festhetők.


Exkluzív megjelenés + kifinomult Novoferm technológia: az összkép pedig lenyűgöző! 
Az ajtók optikailag úgy integrálhatók a környezetükbe, hogy közben számos kialakítási lehetőséget és választékot kínálnak.


A NovoPorta Premio ajtók megjelenését az ajtólap, tok és pántok kialakításának egysége, vagy akár különbözősége határozza meg, melyek együttesen teszik egyedivé ezt a többfunkciós ajtócsaládot.


Már az alapkivitelű RAL 9016-os fehér színű felület is olyan kiváló minőségben készül, hogy sok építtető számára optikailag olyan megnyerő, hogy ezt hagyják meg a végső felületnek.


A rendkívül karcálló, magasfényű vagy matt lakkozás változatossá és vonzóvá teszi a Premio ajtókat. Széles körben felhasználhatók, az ipari, középületektől egészen a privát terekig: az ajtólapok külső és belső oldala és a pántok, mind egyedi elképzelésünk alapján alakíthatók ki.

Üvegezések

Az üveg és az azt tartó keret kiválasztása nagyban befolyásolja az ajtó megjelenését, ugyanakkor az egyre nagyobb súllyal bíró energiahatékonysági szempontokat is figyelembe kell venni. A NovoPorta Premio és Plano üvegezett tűzgátló ajtókat F30 / F60 /F90-es tűzgátló üveggel szállítjuk. A nyílászáró gyártók között egyedüliként az MZ többcélú ajtókat kiváló, 1,1 - 1,3 W/(m²K) hőátbocsátási tényezővel rendelkező hőszigetelt üveggel kínáljuk.

A NovoPorta Premio és NovoPorta Plano ajtók az alábbi üvegtípusokkal rendelhetők:
Standard és egyedi formájú üvegkivágások, alacsony hőátbocsástási tényezővel EN ISO 10077-1 szerint, edzett vagy ragasztott (ESG/VSG) biztonsági üvegezéssel is.

További ornament üvegtípusok: Mastercarré, Masterligne vagy tejüveg.

 

Üvegtípusok
NovoPorta Plano és Premio MZ-ajtókhoz

MZ-1
egyszárnyú

MZ-2
kétszárnyú

ISO 24 mm-es float-víztiszta (standard üveg)

*

*

ISO VSG/VSG 24 mm-es üveg (standard üveg)

*

*

ISO VSG/VSG 24 mm-es üveg matt fóliával (standard üveg)

*

*

ISO 24 mm-es fehér float-ornament üveg / Mastercarré

*

*

ISO 24 mm-es fehér float-ornament üveg/ Masterligne

*

*

ISO ESG/ESG 24 mm-es üveg

*

*

További 24 mm vastag ISO hőszigetelt üvegek ajánlatkérésre!

*

*

Üvegkivágás ISO 24 mm-es üveghez, de üveg nélkül

*

*

Üvegtípusok
NovoPorta Plano és Premio tűzgátló ajtókhoz

Ei30/60/90
egyszárnyú

Ei30/60/90
kétszárnyú

F30 20 mm-es float-víztiszta (standard üveg)

*

*

F60 27 mm-es float-víztiszta (standard üveg)

*

*

F90 40 mm-es float-víztiszta (standard üveg)

*

*

 

Üvegezett kivitelnél a megerősített oldal standard kivitelben a pántoldalon található.

 

Választható ornament üvegtípusok

Mastercarré

Masterline

Matt fólia (tejüveg)

ÜVEGezőkeretek és takaróprofilok


ACÉL ÜVEGEZŐKERET LÁTSZÓ CSAVAROZÁSSAL
A NovoPorta Premio robusztus acél üvegrögzítői mindig azonos szélességűek, függetlenül attól, hogy EI2 30, EI2 60, EI2 90, MZ vagy biztonsági ajtó kivitelről van szó. Így az ajtók az üvegezés tekintetében is egységes képet mutatnak az egész épületen belül.

Anyaga: acél


ELEGÁNS ROZSDAMENTES ACÉL TAKARÓPROFIL
Ha még nagyobb hangsúlyt szeretne fektetni az ajtó vizuális megjelenésére, választhat rozsdamentes takaróprofilt, melyet egyszerűen a standard üvegezőkeretre kell felszerelni.

Anyaga: rozsdamentes acél, szögletes és kör alakú üvegkivágáshoz

ÜVEGEZŐPROFILOK

 

NovoPorta Premio EI2 30-1 és EI2 30-2 1) 2)

 


Rendelhető üvegezés:
F30 üveg bel- és kültéri felhasználásra


Üvegezőkeretek acélból
Standard és egyedi szögletes és körüveg kivágásokhoz


Üvegezőkeretek rozsdamentes takaróprofillal
Standard és egyedi szögletes és körüveg kivágásokhoz


NovoPorta Premio EI2 60-1 és EI2 60-2 1) 2)


Üvegezőkeretek acélból
Standard és egyedi szögletes és körüveg kivágásokhoz


Üvegezőkeretek rozsdamentes takaróprofillal
Standard és egyedi szögletes és körüveg kivágásokhoz


NovoPorta Premio EI2 90-1 és EI2 90-2 1) 2)


Rendelhető üvegezés:
F90 üveg bel- és kültéri felhasználásra


Üvegezőkeretek acélból
Standard és egyedi szögletes és körüveg kivágásokhoz


Üvegezőkeretek rozsdamentes takaróprofillal
Standard és egyedi szögletes és körüveg kivágásokhoz


NovoPorta Premio MZ-1 és MZ-2 2)


Üvegezőkeretek acélból
Standard és egyedi szögletes és körüveg kivágásokhoz


Üvegezőkeretek rozsdamentes takaróprofillal
Standard és egyedi szögletes és körüveg kivágásokhoz


Rendelhető üvegezés:
Kizárólag ISO hőszigetelt üveg


1) A felsorolt F30/F60/F90 tűzgátló üvegek alapkivitelben csak beltéri használatra alkalmasak, DIN EN ISO 12543-4 6. szakasz szerint UV-állóak, napfénynek kitett területeken is alkalmazhatók. Külső használatra speciális, UV-álló F30 és F90 tűzgátló üvegek állnak rendelkezésre, szintén csak monolit üvegszerkezettel (nem ISO-üveg!). Ezek az üvegek ezért csak olyan beépítési területeken használhatók, ahol nincs hőszigetelési követelmény, és feltétlenül védeni kell őket a közvetlen időjárási hatásoktól, különösen a zuhogó (verő) esőtől.

2) A standard acél üvegező keretek mindkét oldalon látszó csavarozással vannak rögzítve. MZ-többcélú ajtók esetén a külső, (támadási) oldalon megerősített biztosítással.

szerelvénycsomagok

Egyszárnyú Premio ajtókhoz 4-féle szerelvénycsomag közül választhat


Kiváló minőségű vastag falcos ajtóelemek egyedi igényekhez igazítva

A NovoPorta Premio ajtócsalád legnagyobb erőssége már a bevezetése pillanatától kezdve a különböző kiviteli változatok sokféleségében rejlett. A tűzgátló, füstgátló vagy a többcélú MZ ajtókhoz választható szerelvénycsomagok tovább szélesítik a palettát.

Válasszon az itt felsorolt 4-féle szerelvénycsomag közül igénye szerint! A további kiegészítők körét az adott minősítő engedélyben foglaltak határozzák meg.


Változatos igényeket kielégítő szerelvénycsomagok egyszárnyú Premio ajtókhoz

A lent bemutatott szerelvénycsomagok csak az ajtóval együtt történő rendelés esetén érhetők el. A csomagokon belül nincs mód a komponensek cseréjére, még felár ellenében sem. Egyetlen kivétel van: a zár - felárral - kérhető pánikkivitelben DIN EN 179 szerint is.

A rozsdamentes zárelőlap és rozettás kialakítás alapfelszereltség
Ha a kiválasztott pánikzárhoz nem rozsdamentes előlap tartozik, a rozsdamentes kivitelt felár nélkül szállítjuk. Amennyiben nem kérik a csomagban szereplő rozsdamentes előlapos zárat, árcsökkenést nem tudunk figyelembe venni. Pánikzár választása esetén felár nélkül osztott diós, rozettás pánikvasalatot szállítunk.

Basic csomag

Akár 23%-os árelőny*

Bevéső váltózár
BMH 1000 PZW rozsdamentes előlappal
Kilincs-kilincs/gomb-kilics garnitúra
ECO OGL-D-110 U-formájú
fényes fekete, körrozettás
3-részes horganyzott standard pántok (nem 3D-s!)
Standard karos ajtócsukó
ECO TS 50 vagy GEZE TS 4000 vagy DORMA TS 89, ezüst színű ¹)

ALUMÍNIUM CSOMAG

Akár 20%-os árelőny*

Bevéső váltózár
BMH 1000 PZW rozsdamentes előlappal
Kilincs-kilincs/gomb-kilics garnitúra
ECO OGL-D-110 U-formájú
F1 eloxált alumínium, körrozettás
3-részes horganyzott standard pántok (nem 3D-s!)
Standard csúszósines ajtócsukó
Novoferm NFGS 55, ezüst színű ¹)

ROZSDAMENTES CSOMAG

Akár 20%-os árelőny*

Bevéső váltózár
BMH 1000 PZW rozsdamentes előlappal
Kilincs-kilincs/gomb-kilics garnitúra
ECO OGL-D-110 U-formájú
rozsdamentes, körrozettás
3-részes rozsdamentes, csiszolt pántok (nem 3D-s!)
Csúszósines ajtócsukó
ECO TS 61 B (EN 2-5), vagy GEZE TS 5000, vagy DORMA TS 93 Basic, ezüst színű ¹)

ROZSDAMENTES + CSOMAG

Akár 15%-os árelőny*

Bevéső váltózár
BMH 1000 PZW rozsdamentes előlappal
Kilincs-kilincs/gomb-kilics garnitúra
ECO OKL-D-110 U-formájú
rozsdamentes, körrozettás
3-részes rozsdamentes, csiszolt objektpántok (3D-ben állítható - keskeny kialakítású)
Csúszósines ajtócsukó
ECO TS 61 B (EN 2-5) Fullcover, rozsdamentes ¹)




¹) Minden felső ajtócsukó normál szerelési módon a pántoldalra rögzítendő. 

Műszaki adatok

Rendelési és beépítési méretek


Ajtótípus

 

Rendelési 
méret
(BRM)

 

Falnyílás
méret

 

Szabad
átjáróméret

Tok külméret
20 mm-es
padlóbeállással
Padlóbeállás
nélkül
Szél. x Mag.
mm
Szél. x Mag.
mm
Szél. x Mag.
mm
Szél. x Mag.
mm
Szél. x Mag.
mm
Premio
EI2 30-1 
EI2 90-1 strangajtó
750 x 750 
750 x 875
760 x 760 
760 x 885
666 x 666 
666 x 791
828 x 828 
828 x 953
-
-
800 x 800810 x 810716 x 716878 x 878-
875 x 875 
875 x 1.000 
875 x 1.250
885 x 885 
885 x 1.010 
885 x 1.260
791 x 791 
791 x 916 
791 x 1.166
953 x 953 
953 x 1.078 
953 x 1.328
-
-
-
1.000 x 1.000 
1.000 x 1.250
1.010 x 1.010 
1.010 x 1.260 
916 x 916 
916 x 1.166
1.078 x 1.078 
1.078 x 1.328
-
Engedélyezett mérettartomány: 500 x 715 mm-től 1.000 x 1.750 mm-ig (BRM)
Premio
EI2 30-1
EI2 60-1
EI2 90-1
MZ-1
E-S-1
DB-1 Typ 50
750 x 2.000 
750 x 2.125
760 x 2.005 
760 x 2.130
666 x 1.958 
666 x 2.083
828 x 2.059 
828 x 2.184
828 x 2.039 
828 x 2.164
875 x 1,875 
875 x 2.000 
875 x 2.125
885 x 1.880 
885 x 2.005 
885 x 2.130
791 x 1.833 
791 x 1.958 
791 x 2.083
953 x 1.934 
953 x 2.059 
953 x 2.184
953 x 1.914 
953 x 2.039 
953 x 2.164
1.000 x 2.000 
1.000 x 2.125
1.010 x 2.005 
1.010 x 2.130
916 x 1.958 
916 x 2.083
1.078 x 2.059 
1.078 x 2.184
1.078 x 2.039 
1.078 x 2.164
1.125 x 2.000 
1.125 x 2.125
1.135 x 2.005 
1.135 x 2.130
1,041 x 1.958 
1,041 x 2.083
1.203 x 2.059 
1.203 x 2.184
1.203 x 2.039 
1.203 x 2.164
1.250 x 2.000 
1.250 x 2.125 
1.250 x 2.250
1.260 x 2.005 
1.260 x 2.130  
1.260 x 2.255
1.166 x 1.958 
1.166 x 2.083 
1.166 x 2.208
1.328 x 2.059 
1.328 x 2.184 
1.328 x 2.309
1.328 x 2.039 
1.328 x 2.164 
1.328 x 2.289
Engedélyezett mérettartomány: 500 x 715 mm-től (EI2 60-1 563 x 1.594 mm-től) 1.500 x 3.000 mm-ig (BRM)
Premio
EI2 30-2
EI2 60-2
EI2 90-2
MZ-2
E-S-2
 
1.500 x 2.000 
1.500 x 2.125
1.510 x 2.005 
1.510 x 2.130
1.416 x 1.958 
1.416 x 2.083
1.578 x 2.059 
1.578 x 2.184
1.578 x 2.039 
1.578 x 2.164
1.750 x 2.000 
1.750 x 2.125 
1.750 x 2.000
1.760 x 2.005 
1.760 x 2.130
1.666 x 1.958 
1.666 x 2.083
1.828 x 2.059 
1.828 x 2.184
1.828 x 2.039 
1.828 x 2.164 
1.828 x 2.164
2.000 x 2.000 
2.000 x 2.125 
2.000 x 2.500
2.010 x 2.005 
2.010 x 2.130 
2.010 x 2.505
1.916 x 1.958 
1.916 x 2.083 
1.916 x 2.458
2.078 x 2.059 
2.078 x 2.184 
2.078 x 2.559
2.078 x 2.039 
2.078 x 2.164 
2.078 x 2.539
2.125 x 2.1252.135 x 2.1302.041 x 2.0832.203 x 2.1842.203 x 2.164
2.250 x 2.2502.260 x 2.2552.166 x 2.2082.328 x 2.3092.328 x 2.289
2.500 x 2.5002.510 x 2.5052.416 x 2.4582.578 x 2.5592.578 x 2.539
Engedélyezett mérettartomány: 1.170 (1.375) x 1.750 mm-től 3.000 x 3.000 mm-ig (BRM)
Műszaki adatok NovoPorta Premio EI 30

Műszaki adatok NovoPorta Premio EI 30-1

Ajtótípus

 

NovoPortaPremio EI2 30-1
egyszárnyú

NovoPortaPremio EI2 30-1
egyszárnyú / nagyméret GE3)

Engedélyezett méretek  


Rendelési méret (BRM)                                  Szélesség min. - max.

                                                                            Magasság min. - max


500 - 1.375

715 - 2.500


1.376- 1.500

2.501- 3.000  

   
Felülvilágítóval                                                  Magasság max.

3.500

-

- ebből ajtó                                                        Magasság max.

2.500

-

Füstgátló kivitel felülvilágítóval                        Magasság max

3.500

-

 

 

 

Ajtólap

 

 

Ajtólap vastagsága kb.

64

64

Lemezvastagság kb.

1,0

(opcionálisan 1,5)

1,0

(1,5 bevizsgálás alatt)

Nyitásirány

balos/jobbos

balos/jobbos

 

 

 

Falazat

 

 

Kőműves fal

> 115

> 175

Beton

≥ 100

≥ 140

Pórusbeton

≥ 150

≥ 175

Vasbeton pórusbeton falpanelek

≥ 150

≥ 175

F30-A/EI30 (GE típus F60-A/EI60-tól) acélvázas tűzgátló gipszkartonfal
 (DIN 4102, 4. rész, 10.2. táblázat vagy EN 13501-2 szerint)

≥ 100

≥ 100

F30-B/EI30 favázas tűzgátló gipszkartonfal
(DIN 4102, 4. rész, 10.3. táblázat vagy EN 13501-2 szerint)

≥ 130

-

További szerelt faltípusok min. F30-A/F30-B
ajánlatkérésre

*

*

Burkolt acél vázszerkezet min. F60-A, vagy burkolt
favázas szerkezet min. F60-B

*

-

 

 

 

Kivitelek

 

 

Hőszigetelt, tömör ajtólap, minden küszöbtípussal
(Ud-érték ajtóelem W/(m2)K)

1,5

1,6

Tűzgátló - EN 1634-1 szerint

*

*

Tűzgátló üvegezés ¹)

*

*

Füstgátlás EN 1634-3 szerint

*

*

Hanggátlás (süllyedőküszöbbel, üveg nélkül) 
(laborérték DIN EN ISO 717-1 szerint)

kb. 
40 dB RwP

kb. 
39 dB RwP

Betörésgátlás DIN EN 1627 szerint
(tömör ajtólap, mindkét oldalon tesztelve)  

RC 2
RC 3
RC 4

RC 2
bevizsgálás
alatt

 

 

 

F30 üvegezés

 

 

Szögletes, standard méretű üvegkivágások látszó csavarozású üvegezőkerettel
alapkivitel: horganyzott, porszórt alapozott RAL 9016 színben, opcionálisan rozsdamentes takaróprofillal
Minimális frízszélesség 3-oldalon: ≥ 150 mm, zár felőli oldalon, ill. állószárnyon középen ≥ 180 mm.

*

*

Köralakú üvegkivágások
Üvegezőkeretek és min. frízszélességek: lásd a standard szögletes üvegkivágásoknál

*

*

Egyedi méretű üvegkivágások
170 x 270 mm-től 849 x 2134 mm-ig (GE kivitel esetén 670 x 1770 mm-ig)
Üvegezőkeretek és min. frízszélességek: lásd a standard szögletes üvegkivágásoknál

*

*

Tanúsítás

 

 

Beltéri ajtók: ETA 17/0443 (Európai Műszaki Értékelés)

EI2 30 / CE

EI2 30 / CE

Kültéri ajtók: CE-jelölés EN 16034 és EN 14351-1 szerint

EI2 30 / CE

EI2 30 / CE

* rendelhető   - nem rendelhető

 

 

¹) Üvegezés csak beltéri felhasználás esetén. (Az üveg UV-sugárzástól és közvetlen halogén-fénytől védendő, csak –20 +45˚C közötti hőmérséklettartományban használható.) 
Az adatok 1000 x 2000 mm-es ajtóméretre érvényesek. / Minden megadott üvegméret a tiszta üvegméretre vonatkozik.

 

2) Felülvilágítós kivitellel nem engedélyezett.

 

 

3) GE = nagy méret  

Minden méret mm-ben van megadva. BRM = beépítési (rendelési) méret RAM = tok külméret    LD = szabad átjáróméret

 

  

Műszaki adatok Novoporta Premio EI2 30-2

Ajtótípus

 

NovoPorta Premio EI2 30-2
kétszárnyú

NovoPorta Premio EI2 30-2
kétszárnyú / nagyméret3)

Engedélyezett méretek

 

 

Rendelési méret (BRM)                                      Szélesség min. - max.

                                                                                Magasság min. - max.

1.170 - 2.500 

1.750 - 2.500

1.376-3.000 

2.501 - 3.000

   
Felülvilágítóval                                                      Magasság max.

3.500

-

- ebből ajtó                                                            Magasság max.

2.500

-

Füstgátló kivitel felülvilágítóval                           Magasság max

3.500

-

 

 

 

Ajtólap

 

 

Ajtólap vastagsága kb.

64

64

Lemezvastagság kb.

1,0

(opcionálisan 1,5)

1,0

(1,5 bevizsgálás alatt)

Járószárny                                                              Szélesség min. - max.

600 - 1.228

728 - 1.478

Állószárny                                                               Szélesség min. - max.

525 - 1.228

728 - 1.478

Nyitásirány

Járószárny 
balos vagy jobbos

Járószárny 
balos vagy jobbos

 

 

 

Falazat

 

 

Kőműves fal

> 115

> 175

Beton

≥ 100

≥ 140

Pórusbeton

≥ 150

≥ 175

Vasbeton pórusbeton falpanelek

≥ 150

≥ 175

F30-A/EI30 (GE típus F60-A/EI60-tól) acélvázas tűzgátló gipszkartonfal
 (DIN 4102, 4. rész, 10.2. táblázat vagy EN 13501-2 szerint).

≥ 100

≥ 100

F30-B/EI30 favázas tűzgátló gipszkartonfal
(DIN 4102, 4. rész, 10.3. táblázat vagy EN 13501-2 szerint)

≥ 130

-

További szerelt faltípusok min. F30-A/F30-B
ajánlatkérésre

*

*

Burkolt acél vázszerkezet min. F60-A, vagy burkolt
favázas szerkezet min. F60-B

*

-

 

 

 

Kivitelek

 

 

Hőszigetelt, tömör ajtólap, minden küszöbtípussal
(Ud-érték ajtóelem W/(m2)K)

1,5

1,6

Tűzgátló - EN 1634-1 szerint

*

*

Tűzgátló üvegezés ¹)

*

*

Füstgátlás EN 1634-3 szerint

*

*

Hanggátlás (süllyedőküszöbbel, üveg nélkül) 
(laborérték DIN EN ISO 717-1 szerint)

kb. 39 dB RwP

kb. 37 dB RwP

Betörésgátlás DIN EN 1627 szerint
(tömör ajtólap, mindkét oldalon tesztelve)  

RC 2
RC 3

RC 2
bevizsgálás
alatt

 

 

 

F30 üvegezés

 

 

Szögletes, standard méretű üvegkivágások látszó csavarozású üvegezőkerettel
alapkivitel: horganyzott, porszórt alapozott RAL 9016 színben, opcionálisan rozsdamentes takaróprofillal
Minimális frízszélesség 3-oldalon: ≥ 150 mm, zár felőli oldalon, ill. állószárnyon középen ≥ 180 mm.

*

*

Köralakú üvegkivágások
Üvegezőkeretek és min. frízszélességek: lásd a standard szögletes üvegkivágásoknál

*

*

Egyedi méretű üvegkivágások
170 x 270 mm-től 849 x 2134 mm-ig (GE kivitel esetén 670 x 1770 mm-ig)
Üvegezőkeretek és min. frízszélességek: lásd a standard szögletes üvegkivágásoknál

*

*

Tanúsítás

 

 

Beltéri ajtók: ETA 17/0443 (Európai Műszaki Értékelés)

EI2 30 / CE

EI2 30 / CE

Kültéri ajtók: CE-jelölés EN 16034 és EN 14351-1 szerint

EI2 30 / CE

EI2 30 / CE

* rendelhető   - nem rendelhető

 

 

¹) Üvegezés csak beltéri felhasználás esetén. (Az üveg UV-sugárzástól és közvetlen halogén-fénytől védendő, csak –20 +45˚C közötti hőmérséklettartományban használható.) 
Az adatok 1000 x 2000 mm-es ajtóméretre érvényesek. / Minden megadott üvegméret a tiszta üvegméretre vonatkozik.

 

2) Felülvilágítós kivitellel nem engedélyezett.

 

 

3) GE = GE = nagy méret  
Minden méret mm-ben van megadva. BRM = beépítési (rendelési) méret    RAM = tok külméret    LD = szabad átjáróméret  
Műszaki adatok NovoPorta Premio EI 60

Műszaki adatok NovoPorta Premio EI 60-1/2

Ajtótípus

 

NovoPorta Premio EI2 60-1
egyszárnyú

NovoPorta Premio EI2 60-2
kétszárnyú

Engedélyezett méretek

 

 

Rendelési méret (BRM)                                   Szélesség min. - max.

                                                                             Magasság min. - max

563 - 1.375

1.594 - 2.500

1.250 - 2.500 

1.750 - 2.500

Felülvilágítóval                                                  Magasság max.

-

-

- ebből ajtó                                                         Magasság max.

-

-

Füstgátló kivitel felülvilágítóval                        Magasság max.

-

-

 

 

 

Ajtólap

 

 

Ajtólap vastagsága kb.

64

64

Lemezvastagság kb.

1,0

1,0

Járószárny                                                         Szélesség min. - max.

-

600 - 1.228

Állószárny                                                          Szélesség min. - max.

-

525 - 1.228

Nyitásirány

balos/jobbos

Járószárny
balos/jobbos

 

 

 

Falazat

 

 

Kőműves fal

> 115

> 175

Beton

≥ 100

≥ 100

Pórusbeton

≥ 150

≥ 150

Vasbeton pórusbeton falpanelek

≥ 150

≥ 150

F60-A/EI60 acélvázas tűzgátló gipszkartonfal
 (DIN 4102, 4. rész, 10.2. táblázat vagy EN 13501-2 szerint)

≥ 100

≥ 100

Favázas tűzgátló gipszkartonfal
(DIN 4102, 4. rész, 10.3. táblázat vagy EN 13501-2 szerint)

-

-

További engedélyezett szerelt faltípusok min. F60-A/EI60
ajánlatkérésre

*

*

Burkolt acél vázszerkezet vagy burkolt favázas szerkezet

-

-

 

 

 

Kivitelek

 

 

Hőszigetelt, tömör ajtólap, minden küszöbtípussal
(Ud-érték ajtóelem W/(m2)K)

1,5

1,6

Tűzgátló - EN 1634-1 szerint

*

*

Tűzgátló üvegezés ¹)

*

*

Füstgátlás EN 1634-3 szerint

*

*

Hanggátlás (B1 küszöbbel, üveg nélkül) 
(laborérték DIN EN ISO 717-1 szerint)

kb. 
35 dB RwP

kb. 
35 dB RwP

Betörésgátlás DIN EN 1627 szerint
(tömör ajtólap, mindkét oldalon tesztelve)  

RC 2
RC 3
RC 4

RC 2
RC 3

 

 

 

F60 üvegezés

 

 

Szögletes, standard méretű üvegkivágások látszó csavarozású üvegezőkerettel
alapkivitel: horganyzott, porszórt alapozott RAL 9016 színben, opcionálisan rozsdamentes takaróprofillal
Minimális frízszélesség felül és a pánt felőli oldalon: ≥ 200 mm, zár felőli oldalon, ill. állószárnyon középen ≥ 220 mm, alsó lábazat: min. ≥ 300 mm.

*

*

Köralakú üvegkivágások
Üvegezőkeretek és min. frízszélességek: lásd a standard szögletes üvegkivágásoknál

*

*

Egyedi méretű üvegkivágások
170 x 270 mm-től 750 x 1.930 mm-ig
Üvegezőkeretek és min. frízszélességek: lásd a standard szögletes üvegkivágásoknál

*

*

Tanúsítás

 

 

Beltéri ajtók: ETA 17/0443 (Európai Műszaki Értékelés)

EI2 60 / CE

EI2 60 / CE

Kültéri ajtók: CE-jelölés EN 16034 és EN 14351-1 szerint

EI2 60 / CE

EI2 60 / CE

* rendelhető   - nem rendelhető

 

 

¹) Üvegezés csak beltéri felhasználás esetén. (Az üveg UV-sugárzástól és közvetlen halogén-fénytől védendő, csak –20 +45˚C közötti hőmérséklettartományban használható.) 
Az adatok 1000 x 2000 mm-es ajtóméretre érvényesek. / Minden megadott üvegméret a tiszta üvegméretre vonatkozik.

 

Minden méret mm-ben van megadva. BRM = beépítési (rendelési) méret RAM = tok külméret    LD = szabad átjáróméret

 

 

Műszaki adatok NovoPorta Premio EI 90

MŰSZAKI ADATOK NOVOPORTA PREMIO EI 90-1/2

Ajtótípus

NovoPorta Premio EI2 90-1
egyszárnyú

NovoPorta Premio EI2 90-2
kétszárnyú

Engedélyezett méretek

 

 

Rendelési méret (BRM)                                       Szélesség min. - max.

                                                                                 Magasság min. - max.

500 - 1.375 

715 - 2.500

1.170 - 2.500 

1.750 - 2.500

Felülvilágítóval                                                       Magasság max.

-

-

- ebből ajtó                                                             Magasság max.

-

-

Füstgátló kivitel felülvilágítóval                            Magasság max.

-

-

 

 

 

Ajtólap

 

 

Ajtólap vastagsága kb.

64

64

Lemezvastagság kb.

1,0

(opcionálisan 1,5)

1,0

(opcionálisan 1,5)

Járószárny                                                              Szélesség min. - max.

-

600 - 1.228

Állószárny                                                               Szélesség min. - max.

-

525 - 1.228

Nyitásirány


balos vagy jobbos

Járószárny 
balos vagy jobbos

 

 

 

Falazat

 

 

Kőműves fal

> 175

> 175

Beton

≥ 140

≥ 140

Pórusbeton

≥ 175

≥ 175

Vasbeton pórusbeton falpanelek

≥ 175

≥ 175

F90-A/EI90 acélvázas tűzgátló gipszkartonfal
 (DIN 4102, 4. rész, 10.2. táblázat vagy EN 13501-2 szerint).

≥ 100

≥ 100

F90-B/EI90 favázas tűzgátló gipszkartonfal
(DIN 4102, 4. rész, 10.3. táblázat vagy EN 13501-2 szerint)

-

-

További engedélyezett szerelt faltípusok min. F90-A/EI90
ajánlatkérésre

*

*

Burkolt acél vázszerkezet min. F90-A, vagy R90 besorolással

*

*

 

 

 

Kivitelek

 

 

Hőszigetelt, tömör ajtólap, minden küszöbtípussal
(Ud-érték ajtóelem W/(m2)K)

1,7

1,8

Tűzgátló - EN 1634-1 szerint

*

*

Tűzgátló üvegezés ¹)

*

*

Füstgátlás EN 1634-3 szerint

*

*

Hanggátlás (B1 küszöbbel, üveg nélkül) 
(laborérték DIN EN ISO 717-1 szerint)

kb. 
39 dB RwP

kb. 
39 dB RwP

Betörésgátlás DIN EN 1627 szerint
(tömör ajtólap, mindkét oldalon tesztelve)  

RC 2
RC 3

RC 2
RC 3

 

 

 

F90 üvegezés

 

 

Szögletes, standard méretű üvegkivágások látszó csavarozású üvegezőkerettel
alapkivitel: horganyzott, porszórt alapozott RAL 9016 színben, opcionálisan rozsdamentes takaróprofillal
Minimális frízszélesség felül és a pánt felőli oldalon: ≥ 200 mm, zár felőli oldalon, ill. állószárnyon középen ≥ 220 mm, alsó lábazat: min. ≥ 300 mm.

*

*

Köralakú üvegkivágások
Üvegezőkeretek és min. frízszélességek: lásd a standard szögletes üvegkivágásoknál

*

*

Egyedi méretű üvegkivágások
170 x 270 mm-től 460 x 1.500 mm-ig
Üvegezőkeretek és min. frízszélességek: lásd a standard szögletes üvegkivágásoknál

*

*

Tanúsítás

 

 

Beltéri ajtók: ETA 17/0443 (Európai Műszaki Értékelés)

EI2 90 / CE

EI2 90 / CE

Kültéri ajtók: CE-jelölés EN 16034 és EN 14351-1 szerint

EI2 90 / CE

EI2 90 / CE

* rendelhető   - nem rendelhető

 

 

¹) Üvegezés csak beltéri felhasználás esetén. (Az üveg UV-sugárzástól és közvetlen halogén-fénytől védendő, csak –20 +45˚C közötti hőmérséklettartományban használható.) 
Az adatok 1000 x 2000 mm-es ajtóméretre érvényesek. / Minden megadott üvegméret a tiszta üvegméretre vonatkozik.

 

Minden méret mm-ben van megadva. BRM = beépítési (rendelési) méret RAM = tok külméret    LD = szabad átjáróméret

 

 

Toktípusok


TÍPUSÁTTEKINTÉS

Saroktok

Saroktok kiegészítőtokkal

Saroktok ellentokkal

Blokktok tip.1 
(futó falra/folyosóra szerelendő)

Blokktok tip.1.1 
(futó falra/folyosóra szerelendő)

Blokktok tip.2 kiegészítő profillal
(futó falra/folyosóra szerelendő)

Blokktok tip. 3 
(falnyílásba szerelendő)

Válaszfaltok

2140B kétrészes válaszfaltok

Küszöbök

Küszöbtípusok

A küszöb
síkban padlóra záródó

B1 küszöb
4-oldalon körbefutó keret 
(ajtólap és tok 4-oldalon falcolt)
ajtómagasság: 1.750 mm-től

B1 küszöb
4-oldalon körbefutó keret 
(ajtólap és tok 4-oldalon falcolt)
strangajtókhoz, 1.749 mm magasságig

B2 küszöb
4-oldalon körbefutó keret

B3 küszöb
4-oldalon körbefutó keret
ütközőküszöb tömítéssel

BE-2 küszöb
4-oldalon körbefutó keret

C2 küszöb
alsó ütközővel

RS1
Süllyedőküszöb

2xRS1
dupla süllyedőküszöb

RS2
Íves profil ráfutóküszöbbel

Emelt magasságú küszöbök

RS3 küszöb1)

B1 küszöb
4-oldalon körbefutó keret 
(ajtólap és tok 4-oldalon falcolt)

B2 küszöb
4-oldalon körbefutó keret
(ajtólap és tok 4-oldalon falcolt)2)

B1 küszöb
4-oldalon körbefutó keret 
(ajtólap és tok 4-oldalon falcolt)
strangajtókhoz


1) További RS3 küszöbváltozatok ajánlatkérésre. 
2) Csak 1-szárnyú Premio EI2 30 perces ajtóhoz, max. BRM 1.375 x 2.500 mm-ig.

Szerelés

A NovoPorta Premio ajtók beszerelésére gyors, egyszerű és tiszta szerelési és hézagkitöltési módok közül választhat.

NOVOPORTA PREMIO acéltokok gyári hézagkitöltő betéttel

EGY TOKTÍPUS - SZÁMTALAN LEHETŐSÉG

Előnyök pontokba szedve:

  • Hatékony és biztonságos, egyenletes hézagkitöltés
  • Nincs szükség a beszereléskor további hézagkitöltő anyagra
  • Elérhető: 1- és 2-szárnyú Ei30 perces NovoPorta Premio ajtókhoz (BRM: 1.375 x 2.500 mm / 2.500 x 2.500 mm).
  • A hézagkitöltés nem igényel előkészületet (Pl. cementeszsákok felhordása, vízcsatlakozás biztosítása, bekeverés, stb.)
  • A környezeti hőmérséklettől függetlenül alkalmazható
  • Optimális megoldás RAL-színre festett ajtókhoz, melyeket a kivitelezés későbbi szakaszában építenek be
  • A hézagkitöltési módszer EN 1634 szabvány szerint került bevizsgálásra és ETA-17/0443 szerint engedélyezésre
  • Gyors, tiszta, gazdaságos módszer
  • Környezetbarát, nincs hulladék vagy kidobandó göngyöleg

EasyFit gyári hézagkitöltő betét

Csak a Novofermnél kapható!
Az EasyFit rendszernek köszönhetően valóra vált minden nyílászáró-szerelő álma: az ajtókat a hagyományos és sokszor körülményes hézagkitöltési módszerek nélkül egyszerűen lehet beszerelni. A  megoldás lényege, hogy a standard saroktokba gyárilag speciális habosodó betét kerül, mely tűz esetén megduzzad és megbízhatóan kitömíti a tok és a fal közötti rést. A módszer 30 perces tűzgátlást garantál.

A hagyományos hézagkitöltési módokra, melyek gyakran igen nagy ráfordítást igényelnek, nincs többé szükség. Az eljárás legnagyobb előnye a szárazépítészetben van, ahol a tisztaság és gyorsaság a legfontosabb szempont.

Az EasyFit rendszer esetén nincs kötési, száradási idő, a környezeti hőmérséklettől függetlenül alkalmazható, nincs szükség további kitöltő anyagra vagy vízcsatlakozásra.

És még egy fontos érv:
A hibaszázalék nullára csökkenthető, hisz az EasyFit rendszernél nincs hibás vagy rosszul betöltött anyag. A NovoPorta Premio ajtók beszerelése egyszerűen és biztonságosan elvégezhető.

Egyszerűen csak csavarozza be a tokot és már kész is! Ez a Novoferm EasyFit rendszer! 

Hőre duzzadó Intumex tűzgátló tömítés, mely tűz esetén felhabosodik és megbízhatóan kitömíti a tok és a fal közötti rést, megakadályozva a tűz áttörését.

Kőműves, beton és gipszkarton falhoz egyaránt használható

Az EasyFit-rendszerrel ellátott NovoPorta Premio ajtók 2-részes 2140B típusú acéltokkal és felső ajtócsukóval legfőképpen min. F30-A tűzgátló gipszkarton falba történő beépítésre alkalmazhatók. De az EasyFit megoldás a vakolatlan kőműves falba vagy látszó betonfalba történő beszerelést is jelentősen leegyszerűsíti. A saroktok rögzítéséhez komplett szerelőcsomagot (csavarok, dübelek, felső ajtócsukó, öntapadó műanyag takaróprofil) mellékelünk. A saroktokon kívül természetesen itt is választható 2-részes 2140B típusú válaszfaltok. A NovoPorta Premio ajtócsaládnál megszokott módon a tűzgátló ajtók füst- és hanggátlással is kombinálhatók.

Így működik az EasyFit-rendszer:
A tokba gyárilag egy speciális, hőre duzzadó, tűzgátló Intumex csíkot ragasztanak. 200 °C-nál az anyag az eredeti méretének 10-től 40-szeresére duzzad, miközben megtartja az alakját. A megoldás tűz esetén 30 perces védelmet garantál. Az EasyFit-rendszerű tűzgátló ajtókat EN 1634 szabvány szerint vizsgálták, és Ei30-1 és Ei30-2 tűzgátlással Európai Műszaki Értékelés (ETA-17/0443) alapján engedélyezték.

Vakolatlan kőműves fal / Látszó betonfal

Gipszkartonfal (min. F30-A, ill. EI 30)

A csomag részei:

  • Premio-ajtólap standard saroktokkal
  • Komplett szerelőcsomag csavaros rögzítéshez
  • Műanyag takaróprofil
  • Felső ajtócsukó
  • Gyári EasyFit-hézagtömítés

A csomag részei:

  • Premio ajtólap kétrészes 2140B típusú tokkal
    100 / 125 / 150 mm standard falvastagságokhoz
    (100 - 300 mm egyedi falvastagságok esetén hosszabb szállítási határidő)
  • Felső ajtócsukó
  • Gyári EasyFit-hézagtömítés
2140B univerzális tokprofil

2140B: univerzális tokprofil minden faltípushoz

A NovoPorta Premio ajtóelemek saroktokkal történő beépítése standard beépítési módnak számít, míg a hézagkitöltést nem igénylő ellentok használata már egy speciális megoldás. A két elem kombinációjából jött létre a 2140B típusú kétrészes válaszfaltok. Előnye, hogy az ellentokot egy már beépített saroktokhoz utólag is lehet rögzíteni.

További előnyök: A minősítés szerint elegendő csak a saroktokot kitölteni, az ellentok mögötti részt nem szükséges. A különböző hézagkitöltési módszerek és gyakorlatilag az összes faltípushoz rendelkezésre álló szerelőcsomagok megkönnyítik az ajtóelemek rögzítését.

A NovoPorta Premio ajtóelemek 2140B típusú kétrészes válaszfaltokkal történő beépítése mind tűz-és füstgátló, mind hanggátló és biztonsági kivitelben engedélyezett.

Vakolatlan téglafal

Látszóbeton

Pórusbeton

F30-A tűzgátló szerelt válaszfal

F30-B tűzgátló szerelt válaszfal
 

Vakolt téglafal


A 2140B típusú kétrészes válaszfaltokkal gyakorlatilag bármilyen ötlet megvalósítható, mert a minden faltípushoz rendelkezésre álló szerelőcsomagokkal a tok gyorsan rögzíthető és könnyen kitölthető. A beépítési szituációtól, ill. a kivitelező csapat összetételétől függően többféle engedélyezett és egyszerűen kivitelezhető hézagkitöltési módszer létezik.

Szerelés betolható rögzítőfülekkel

Csak 10 db csavarra van szükség
A tok a minősítés szerint 10 ponton van előkészítve a csavaros rögzítéshez. Előnye, hogy rögzítőpontonként egy darab csavar elég ahhoz, hogy a szerkezet megfelelő stabilitását és feszességét biztosítsa.

Pontosan beállítható
Miután a saroktokot rögzítette a mellékelt szerelőfülekkel, a 2140B típusú kétrészes tok ellentok oldalának rögzítőfülét egyszerűen csak rá kell tolni ütközésig.
 

Betolható rögzítőfülek csak a legszükségesebb helyeken
Az ellentok rögzítéséhez csak 6 db betolható szerelőfülre van szükség. Az alsó rögzítőelem hosszabb, hogy az ütközésveszélynek kitett területen a tokot jól megtámassza. Takarékos és egyben optimális megoldás: a felső két rögzítési pontnál nincs szükség betolható szerelőfülre.

Rugalmas hézagkitöltés
Az építőipari engedély szerint csak a saroktok mögötti hézagot kell kitölteni, az ellentokot nem. Tűzgátló ajtók esetén pl. kőzetgyapottal*, tűzgátló habbal vagy EasyFit gyári hézagkitöltővel.

Az ellentok részt egyszerűen csak be kell tolni majd becsavarozni
Ennél a toktípusnál nem kell a nehézkes beigazítással bajlódni: egyszerűen csak csúsztassa az ellentokot felülről enyhe szögben az alsó fülre, majd tolja be ütközésig. Ezek után a falcban előkészített furatokon keresztül csavarozza be az ellentokot, végül helyezze be a gumitömítést.

Gyors szerelhetőség betolható rögzítőfülek segítségével

Rendelhető kőműves és beton falhoz 300 mm-es falvastagságig.
EI2 30 esetében gyárilag beépített EasyFit hézagkitöltéssel is.

* Minimális testsűrűség: 40 kg/m³, Olvadáspont: > 1.000 °C, Építőanyag osztály: A1

CSAVAROS RÖGZÍTÉS tokfalcon keresztül

Egyszerű szerelhetőség: rögzítési pontonként csak 1 db csavarral

Legyen akár standard saroktok, akár 2140B típusú kétrészes tok: a tokfalcon keresztüli csavaros rögzítés a leggyorsabb és legegyszerűbb megoldás.
Előnye, hogy rögzítési pontonként csak 1 db csavarra van szükség, mely biztosítja a tok stabilitását, ugyanakkor a szerelési idő is lerövidül. Mindemellett esztétikus is, mivel a tokfalcban lévő furatok lefesthető takarósapkákkal vannak ellátva.
A szerelési mód minősítő engedélyünk alapján tűzgátló, füstgátló, MZ-többcélú és biztonsági kiviteleknél is alkalmazható, látszóbeton és vakolatlan téglafal, valamint tűzgátló szerelt fal esetén.

 

Rejtett csavarozás, villámgyors hézagkitöltés

ÚJ: 
továbbfejlesztett rögzítési megoldások

Ei230 / MZ
Gyors és egyszerű hézagkitöltés Novoferm tűzgátló purhabbal, vakolatlan téglafalba vagy látszóbetonba.

Ei230 / MZ
Csak a tokfalc területén szükséges közepes testsűrűségű kőzetgyapot hézagkitöltés, mely száraz, gyors és tiszta munkát eredményez.

Ei230 / MZ
Tokfalcon keresztüli csavaros rögzítés vakolt tégla- és betonfal esetén is. Engedélyezett hézagkitöltési mód: cementhabarccsal

Ei2 30, E2 60 és EI2 90 
A tűzgátló acélajtók különösen magas biztonságot nyújtanak. Ebben a kategóriában ugyanakkor az ajtólap jelentős többletsúllyal rendelkezik, így a tokok stabilitásával és feszességével szemben is nagyobb az elvárás. Rögzítésére a tokfalcon keresztüli csavarozást és klasszikus cementhabarcsos hézagkitöltést javaslunk.
 

Tokhosszabbítás közvetlenül a beépítési helyszínen
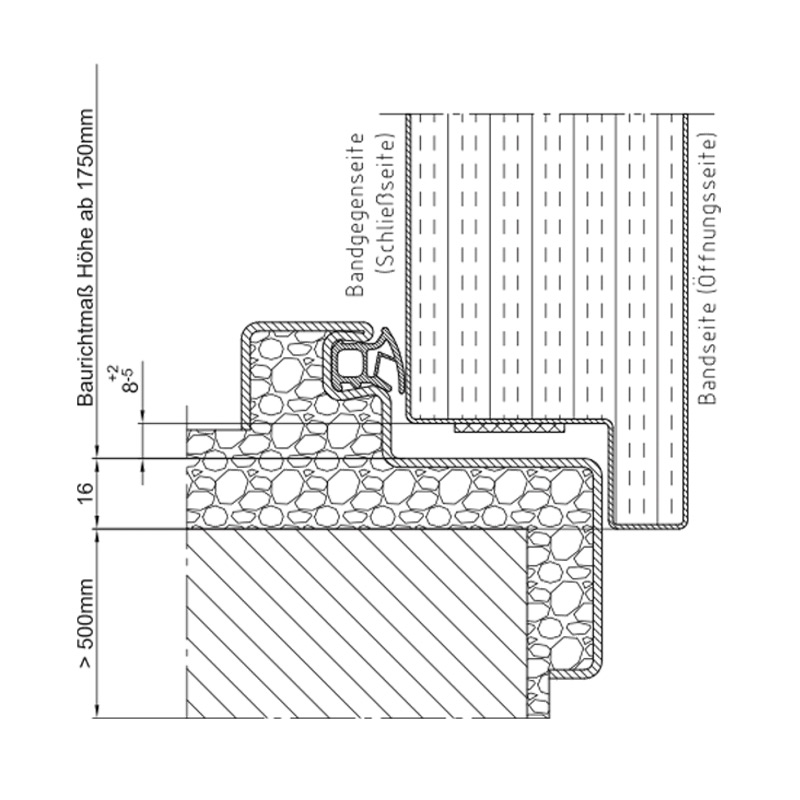
A Premio saroktokokat alapkivitelben padlóbeállás nélkül szállítjuk. Ennek ellenére gyakran előfordul, hogy a kész padló még nem került kialakításra az építkezésen. Emiatt a tokot meg kell hosszabbítani. A Premio saroktoknál ez egyszerűen megoldható. Az opcionálisan kapható adapter bármikor utólag felszerelhető a saroktok legalsó rögzítőelemére. Így egy 20 mm-es padlóbeállással rendelkező tokot kapunk, amelyet ezután az előírásoknak megfelelően lehet beszerelni.

speciális szárazépítészeti megoldások / hézagkitöltések

Az ideális szárazépítészeti megoldás – NovoPorta Premio Ei30 2140B típusú tokkal

Az F30-A vagy magasabb kategóriájú tűzgátló szerelt válaszfalak ideális belsőépítészeti megoldást jelentenek gyors, tiszta és rugalmas felépíthetőségükkel. A NovoPorta Premio Ei30 perces tűzgátló ajtóelemek 2140B típusú kétrészes válaszfaltokkal ugyanolyan gyorsan, tisztán és rugalmasan szerelhetők be ezekbe a falakba.

Előnyük a tűzgátló purhabbal vagy a kőzetgyapottal* történő engedélyezett hézagkitöltési módokban van. A minősítő engedély szerint elegendő csak a saroktok mögötti hézagot kitölteni, míg a speciális 2140B ellentok szabadon maradhat. A tok klasszikus gipszkartoncsíkokkal történő kitöltése Ei2 60 és Ei2 90 tűzgátló változatban is engedélyezett EN1634 szerint, ill. az ETA-17/0443 Európai Műszaki Értékelés alapján.

* Minimális testsűrűség: 40 kg/m³, Olvadáspont: > 1.000 °C, Építőanyag osztály: A1

Hézagkitöltés kereskedelemben kapható kőzetgyapottal

  • Testsűrűség: ≥ 40 kg/m³, Olvadáspont: > 1.000 °C, Építőanyag osztály: A1
  • A kőzetgyapot – akár formára vágott, akár tekercs – szakkereskedésben könnyen beszerezhető
  • Gazdaságos, felhasználóbarát, könnyen szállítható, tisztán és gyorsan használható
  • Időtakarékos, mivel csak a saroktok mögötti részt kell vele kitölteni, az ellentok rész üresen maradhat
  • EN 1634 szabvány szerint bevizsgált
  • Premio EI2 30-ra engedélyezett 1-szárnyú ajtó esetén 1.375 x 2.500 mm, 2-szárnyú ajtó esetén 2.500 x 2.500 mm rendelési (BRM) méretig

Hézagkitöltés kereskedelemben kapható kőzetgyapottal

Hézagkitöltés tűzgátló purhabbal

  • Csak Novoferm 1K-tűzgátló pisztolyhab használható
  • Az ajtók csukódásakor jelentősen csökkenti a zajkibocsátást
  • Gazdaságos, felhasználóbarát, könnyen szállítható, tisztán és gyorsan használható
  • Időtakarékos, mivel csak a saroktok mögötti részt kell vele kitölteni, az ellentok rész üresen maradhat (A kifolyt habot az ellentok eltakarja, így nem kell levágni)
  • Gazdaságos, egy flakon kb. 12 folyóméterre, min. 2 db egyszárnyú tokhoz elegendő
  • EN 1634 szabvány szerint bevizsgált
  • Premio EI2 30-ra engedélyezett 1-szárnyú ajtó esetén 1.375 x 2.500 mm, 2-szárnyú ajtó esetén 2.500 x 2.500 mm rendelési (BRM) méretig

Hézagkitöltés tűzgátló purhabbal

A kétrészes tok előnyei a szárazépítészetben

Aki szereti a fát, szeretni fogja a NovoPorta Premio-t is!

Az asztalosok szakmájukból eredően, de a környezettudatos építkezők is szívesen dolgoznak a fával, mint megújuló alapanyaggal. Szerszámaik is a fa megmunkálására alkalmasak.

A NovoPorta Premio ajtócsalád megtervezésekor fontos volt számunkra, hogy a 2140B típusú kétrészes tok egyszerű és gyors csavaros rögzítését favázas szerelt fal esetén is alkalmazni lehessen.

A Premio ajtók még Ei2 30 perces tűzgátló kivitelben is engedélyezettek F30-B típustól kezdve favázas szerelt falba történő beépítésre.

Öné a választás – mi biztosítjuk a gyors és tiszta munka feltételeit!

Ha csak a felét kell kitölteni, kétszer olyan gyorsan lehet haladni - hát még ha a kitöltő anyagot is rugalmasan megválaszthatjuk! Mivel a 2140B kétrészes toktípusnál az ellentok mögötti rész üresen maradhat, a saroktok mögötti részt kitöltheti pl. a légnépszerűbb megoldással: kőzetgyapottal.

Kitöltési változatok:

Novoferm tűzgátló purhab
Szerelje be a saroktokrészt, majd fújja be az engedélyezett pisztolyhabot, és illessze be az ellentokot. A purhab használata hatékony munkavégzést eredményez, egy flakon kb. 2-3 egyszárnyú tok rögzítéséhez elegendő.

Kőzetgyapot
Aki szívesebben dolgozik kőzetgyapottal*, akár az építkezés helyszínén is hozzájuthat a máshol kimaradt szükséges mennyiséghez. A megfelelő testsűrűségű kőzetgyapotot vágja fel csíkokra és beszerelés után tolja be a saroktok üregébe, majd szerelje be az ellentokot.

Gipszkartoncsíkok
Vágjon le a meglévő gipszkarton lapokból megfelelő szélességű csíkokat és beszerelés előtt helyezze a tok üregébe. Ez az eljárás igen közkedvelt, és főleg: engedélyezett!



* Minimális testsűrűség: 40 kg/m³, Olvadáspont: > 1.000 °C, Építőanyag osztály: A1

Felkeltettük az érdeklődését?

Keressen bennünket a KAPCSOLAT-fülön található elérhetőségeinken.